棋牌资讯
返回 >
又一棋牌实力干将出现?这家运营商八月新用户增幅高达439.7%
发布时间:2018-10-08 14:44编辑:网狐管理员来源:深圳市网狐科技
字号:

地方棋牌的竞争自然是十分残酷,可通用棋牌市场的压力也不小。在腾讯、JJ等大厂的疯狂碾压下,能在通用棋牌市场占据一席之地的,实力当然也是不容小觑。而地方棋牌游戏玩法、规则各异,相比较之下,有着统一玩法的通用棋牌,入局相对也稍微容易一些。

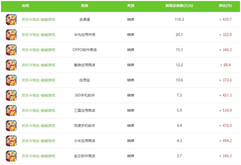
根据艾瑞咨询提供的棋牌游戏运营数据显示,2018年8月,新增用户幅度最大的,当属主打通用棋牌市场的蛙蛙游戏,旗下游戏《欢乐斗地主—蛙蛙游戏》,作为一款通用棋牌,8月的新用户增幅高达439.7%。据了解,蛙蛙游戏的旗下棋牌游戏业务覆盖大陆和港澳台地区,目前的注册用户数已经突破2亿。

斗地主是它的主要产品,从8月的表现来看,它的《真人斗地主2—蛙蛙游戏》和《欢乐斗地主—蛙蛙游戏》月活均有所增长。

《真人斗地主2—蛙蛙游戏》

《欢乐斗地主—蛙蛙游戏》

不过从详细的数据表现来看,二者的实际增长情况又有所差异。其中,《真人斗地主2—蛙蛙游戏》经历了年初的低潮期以后,月活用户在缓慢回升,至8月底,几乎已经恢复到去年同期的水平。而《欢乐斗地主—蛙蛙游戏》则是在缓慢的蛰伏期以后,在8月出现了一次大爆发。

《真人斗地主2—蛙蛙游戏》

《欢乐斗地主—蛙蛙游戏》

而根据其渠道来源来看,《欢乐斗地主—蛙蛙游戏》的表现则略胜一筹。8月,《欢乐斗地主—蛙蛙游戏》的新增用户明显多于《真人斗地主2—蛙蛙游戏》。不过,这两款游戏的新增用户和月活用户基本处于同步增长的状态,由此可见其用户留存情况不错。


网狐在体验《真人斗地主2—蛙蛙游戏》时发现,它几乎囊括了目前所有的斗地主玩法。此外,游戏中还设有红包场,激励玩家不断参与游戏。而与其他游戏不同的是,游戏大厅中还设有一个聊天入口,玩家可在此与其他玩家进行实时联系,大大增强了游戏的社交性。


同时,玩家通过点击小游戏,还可跳转至“蛙蛙游戏盒子”,其中有多款休闲游戏可供选择,以此来实现用户留存和再次转化。

由此可见,只有做好获客和留存,才能真正算是成功运营游戏。否则,再多的游戏玩家都只能是昙花一现,游戏也难成精品。网狐科技致力于棋牌游戏开发14年,拥有大量棋牌游戏开发运营经验和大批成功案例。

想开发一款迅速盈利的棋牌游戏欢迎咨询热线电话:400-000-7043

扫码二维码咨询更多棋牌游戏问题

本文版权归网狐所有,如若转载请注明出处

( 全文完 )

游戏定制

扫码联络游戏定制顾问

游戏联运

扫码联络游戏联运专员

服务热线

返回顶部

官方公众号

微信

微信号: 网狐棋牌开发公众号

扫一扫,关注网狐

发现更多精彩

微信在线

微信

微信号: 在线微信客服

游戏定制

游戏联运

官方热线

服务热线

企业QQ

客服热线

分享

QQ空间

腾讯微博

QQ 好友

新浪微博

开心网

贴吧

微信

人人网